Metu Konsolhalter KH 12 (1 Beutel á 10 Stück)
Artikelnummer:
10015560
Ausprägungscode:
MET/KH/12
Für Preisinformationen bitte anmelden
oder registrieren.
Datenblatt Export
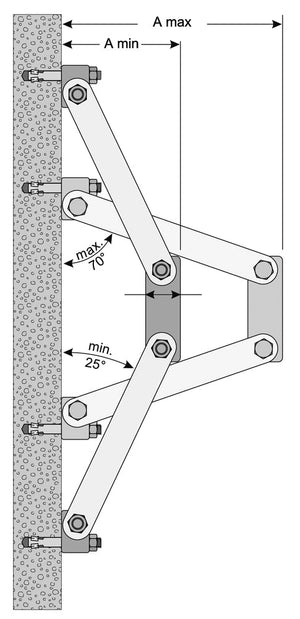
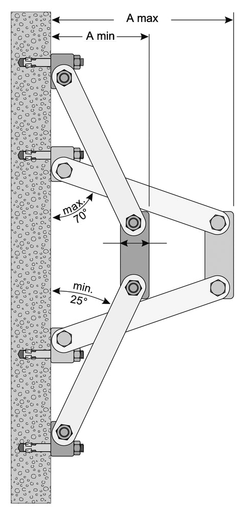
Typ | KH-12 |
Belastbarkeit 25° max/ 70° max | 500/200 KGM |
geeignet für Wickelfalzrohr bis NW | 250 MMT |
Einsatzbereich A min/A max | 50/140 MMT |
VPE | 10 PCE |
Konsolenhalter eignen sich für senkrechte und waagerechte Montage. Bei Unebenheiten an Mauerwerken oder Decken, Wandabsätzen oder Rundungen passt sich der Konsolenhalter durch seine Verstellwinkel an.